新加坡公积金制度2026重大调整!全岛611万人都受影响~
此前,新加坡养老制度做到全民平等?总理同清洁工的退休金一样?!话题引发全网热议,甚至登上热搜!
而这个连续17年稳坐亚洲第一的养老体系,今年更创下历史性突破,以 80.8分斩获全球养老金指数A级评级!
而2026年,新加坡CPF的政策也是在随着社会的进步和发展进行不断地调整,迎来更加重大的变化!
今天万事通就来带大家揭秘一下2026年CPF即将落地的重大调整,关乎每一个新加坡人的钱包~


新加坡CPF收入上限
2026年将提升到$8000
2025年,CPF收入上限已被调整为7400新币,而2026年,这个数字会进一步涨到8000新币。

所谓收入上限,也就是每月计入公积金强制缴纳的最高工资基数。这一上限决定了雇主和雇员需为公积金账户缴存的金额,超出部分不再参与计算。
举个简单的例子就是:如果你在2025年的收入为7200新币,收入未达到7400新币的收入上限,因此你全额工资都将根据目前的缴交比例每月交给CPF。
而2025年时,如果你的工资为7800新币,那么其中的$7400,需要按比例强制缴纳CPF,超过$7400的部分,都可以拿回家,不强制缴纳。


新加坡55-56岁的年长者
公积金缴费率提高1.5个百分点
为了帮助年长人士快速积累退休储蓄,从2026年1月1日起,55岁至65岁的受雇公积金会员的公积金缴费率将提高1.5个百分点。
其中,雇主缴纳部分增加0.5%,雇员缴纳部分增加1%。


BRS、FRS、ERS额度提高
退休后,每月退休金也将上涨
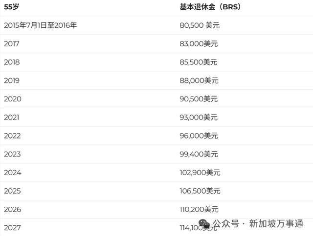
根据账户储存金额的不同,新加坡退休账户的存款分为三个档位:BRS、FRS、ERS。
BRS
全称:Basic Retirement Sum,是基本退休存款。
是在参与者拥有无按揭房产(不需每月支出房租)的情况下,根据平均月基本生活开销水平计算出来其退休账户需要维持的最低金额。
因为通货膨胀的因素,政府因此一直在调高BRS的数字。
到了2026年,BRS的基准数字会来到110,200新币,每月退休金也会涨到950新币。

FRS
全称:Full Retirement Sum,是全额退休存款,旨在保障一个人退休后有充足的退休金生活。
那些在2026年达到FRS退休金额标准(21.3万新币)的人,在退休后将可以每月拿到1780新币的退休金。

ERS
ERS全称:Enhanced Retirement Sum,是超额退休存款。
和BRS以及FRS不同,超额退休存款ERS代表了你能通过自行填补/每月强制存款所能存进CPF户头的上限。
2025年的ERS设定为FRS的两倍,也就是42万6000新币,而你每个月能获得的退休金也多得多,有3330新币。
而到了2026年,ERS也就达到了44万800新币,每个月能获得的退休金也到了$3440。


扩大补贴计划
残疾人士也可享受
填补退休储蓄计划(MRSS)
新加坡退休储蓄匹配计划 (MRSS) 是在2021年推出,旨在帮助退休储蓄较低的新加坡老年公民增加储蓄,该计划通过匹配向其退休账户 (RA) 存入的现金,来提高他们的储蓄额。

而2026年起,所有符合条件的残障者无论年龄多大,也会列入MRSS的受益范围。

图源:CPF Board

新加坡乐龄安居花红
扩大至更多私宅年长屋主
新加坡乐龄安居花红(Silver Housing Bonus)旨在由政府提供花红给自愿缩小居住面积至三房或更小型组屋的老年人,用以补充他们的退休收入。
乐龄安居花红将从12月起改善,所有住在组屋或年值在3万1000新元及以下私宅的年长屋主,都可以在换购三房式或更小的组屋时,享有乐龄安居花红。
组屋住户和房屋年值低于2万1000新元的私宅住户,可享有最高3万新元乐龄安居花红。
房屋年值介于2万1000新元至3万1000新元的私宅住户,则可获得最高1万新元。
选择购入二房式或更小组屋,包括社区关爱组屋的年长者,可额外获得1万新元。


对于新加坡的CPF政策,大家还有什么想要了解的吗?欢迎评论区留言~
请先 后发表评论~